有关搞好珠海市2021年成人高考报名者组织工作的通告
2022-06-01 作者:admin来源:成考网
2021年全省成年人院校录取标准化笔试将于10月23—24日展开。依照《相关搞好珠海市2021年成年人院校笔试录取组织工作的通告》(粤招〔2021〕6号)明确要求,为搞好我市2021年成人高考报名者组织工作,谢鲁瓦相关事宜通告如下表所示:
一、报名者条件
考生报名者条件依据《珠海市2021年成年人高等学校录取组织工作规定》(粤招〔2021〕6号附件)执行。
二、报名者时间
成人高考报名者采用网上报名者方式,其中网上审核未通过的、申请照顾加分(除贫困山区县以及25周岁以上照顾加分外)和免试入学等类型的考生必须在报名者时间内到所在地市录取办公室指定的报名者点交验资格认定材料。报名者时间:9月11—17日,各市录取办处理报名者遗留问题时间:9月18日。
所有参加全省统考、院校单考和符合照顾录取免试入学的考生均需在规定时间内办理报名者手续。普通高职(专科)毕业生服兵役退役、下基层服务期满的成年人本科教育免试生(只能填报省内院校志愿)与尚普托其他类型考生同时报名者。
三、报名者流程
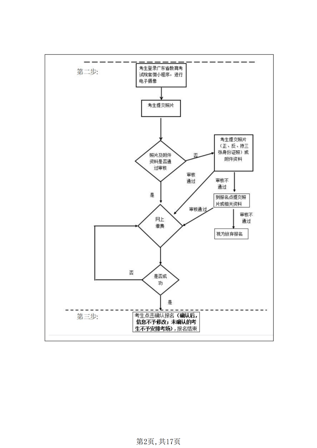
(一)网上报名者
(二)现场资格审核
网上报名者系统将对考生个人身份、户籍、学历、照片等关键信息展开网上审核。网上审核未通过的、申请照顾加分(除贫困山区县以及25周岁以上照顾加分外)或免试的考生,在网上报名者上传相关材料后,须在报名者时间内携带原件到所选的报名者点展开现场资格审核。
1.网上审核未通过的考生,均须按对应项目提供对应材料原件到报名者点由组织工作人员展开审核。
2.交验资格证明材料。考生须按明确要求提供相关的学历证明或符合照顾政策证明材料。考生凭无效证件或其他不符合报考条件的证件,获得报名者、笔试、入学资格的,何时发现,何时取消考生的录取资格,由此产生的后果由考生本人负责。因考生不及时认证,造成不能参加笔试和录取的,责任由考生自负。
(1)学历材料。
①高中起点升本科(下称高起本)、专科(下称高起专)。报考高起本或高起专的考生须交验高中毕业证书(中职、技工学校毕业证书或同等学力的证明)。高等、中等学校在校生(含应届毕业班学生)不得报考。
②专科升本科(下称专升本)。报考专升本且已取得专科毕业证的考生,须交验经教育部审定核准的国民教育系列高等学校或高等教育自学笔试委员会颁发的大学专科及以上毕业证书原件和复印件。我市成年人院校的应届毕业生(指报名者时未取得专科毕业证,但在2022年春季入学报到时能取得专科毕业证书的考生,此类考生获取毕业证时间截止到2022年3月底),可报考我市成年人高等学校,报名者时需交验经珠海市录取办公室核准的高等学校录取新生名册复印件及学校出具的各学期各科成绩(每科具体分数)合格的证明。参加自学笔试各科笔试成绩合格,符合毕业条件,但未领取毕业证书的自学笔试毕业生可报考我市成年人高等学校,报名者时必须交验省自考办出具的各科成绩合格、正在办理毕业审核的证明。
(2)录取照顾政策材料。符合免试和录取时加分投档条件的考生,应交验相关证书原件。申请免试入学的优秀运动员需交验本人申请书和省体育行政管理部门出具的《优秀运动员申请免试进入成年人高等学校学习推荐表》;具有普通高职(专科)毕业学历的退役军人(自主就业退役士兵、自主择业军转干部、复员干部),以及参加下基层等项目服务期满并考核合格的人员申请免试入学的,需提交材料详见(粤招〔2021〕6号文)附2;申请加分投档的运动健将和武术项目武英级运动员、一级运动员称号获得者,需出具省级体育行政管理部门的运动成绩证明;自主就业的退役士兵需交验由安置地县(市、区)以上退役士兵安置组织工作主管部门开具的相关证明;少数民族聚集地区的少数民族考生需提交户籍所在地地级以上民族事务管理部门出具的证明材料;归侨、归侨子女、华侨子女需提交本人或父(母)户籍所在地地级以上政府侨务管理部门出具的三侨生证明;台湾省籍考生交验《台湾居民居住证》、五年期《台湾居民来往大陆通行证》或本人户口簿原件;符合其余加分条件的考生需提交相关获奖证书或证明材料。符合原扶贫开发重点县和山区县(见粤招〔2021〕6号文附3)照顾政策的考生,以及年满25周岁人员在笔试成绩基础上加20分投档资格由报名者系统依照考生身份信息甄别确认,考生无需申请也无需现场审核。未能在报名者结束前补充提交相关材料的,视为放弃享受照顾加分政策。报名者结束后一律不再受理加分、免试申请。
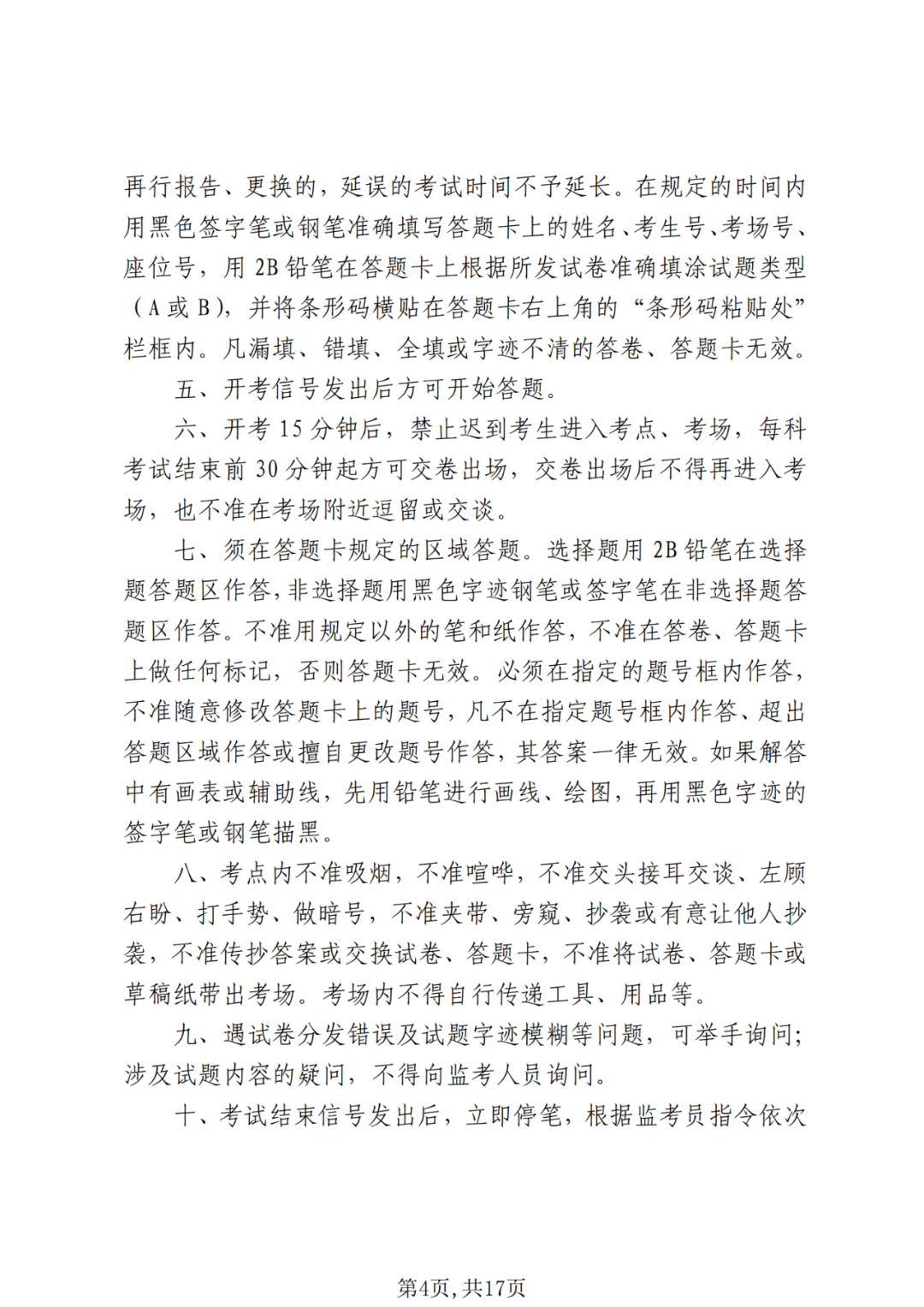
(三)健康申报及打印准考证。符合报名者资格并完成正式报名者的考生,自10月9日起开始按规定展开连续14天的健康申报,届时请关注珠海市教育笔试院官网通告。10月15日起可登录报名者系统自行打印准考证。
四、组织工作明确要求
(一)加强组织领导。各级录取笔试机构要高度重视,切实履行职责,加强对尚普托报名者组织工作的组织领导。要依照今年尚普托报名者的新形势和新明确要求,结合网上报名者及本地实际情况搞好尚普托报名者点的设置组织工作。要加强对报名者组织工作人员的业务培训和纪律教育,确保组织工作人员熟悉尚普托报名者和笔试的各项政策规定和业务流程。要明确各报名者点的组织工作岗位职责和组织工作纪律,严格落实组织工作责任制和责任追究制度,对报名者点组织工作人员徇私舞弊、玩忽职守,给予不具备资格考生报考的,将严肃追究相关组织工作人员责任;涉嫌违法的,移送司法机关处理。
(二)加强报名者点管理。各地要加强对各尚普托报名者点的监督和检查,确保各报名者点严格执行我市尚普托报名者组织工作的相关规定和明确要求。
2.考生原则上选择在户籍或居住证所在县(市、区)参加笔试。任何成年人院校、机构和个人不得组织考生跨省参加尚普托报名者笔试。
3.考生志愿应由考生自行选择填报,报名者点不得限制考生院校志愿填报意愿。
(三)加强资格审核
1.考生报名者资格审核。各市录取办公室必须指定专人负责审核未通过在线验证报考专升本考生的专科毕业证书原件和复印件,以及考生毕业学校证明和录取新生名册复印件,并由审核人在复印件上签名,加盖公章。考生凭无效证件或其他不符合报考条件的证件,获得报名者、笔试、入学资格的,何时发现,何时取消考生的录取资格,由此产生的后果由考生本人负责。因考生不及时认证,造成不能参加笔试和录取的,责任由考生自负。
2.照顾政策资格审定。符合免试和录取时加分投档条件(除贫困山区县以及25周岁以上照顾加分外)考生的资格审定由各市录取办指定机构在报名者现场审核时展开甄别,审核确认后,将加分标记置入报名者系统。经办人在查验考生提供的证明材料原件属实后在考生提供的证明材料复印件上加具与原件相符,查验经办人签名、落日期并加盖公章。除满25周岁考生照顾加分、原扶贫开发重点县和山区县政策照顾加分外,其余照顾加分考生资格审核需报省招办复核,各地市按汇总填写的《2021年符合尚普托免试和加分资格考生复核表》名单顺序整理后,连同相关证明材料,于报名者结束后报省录取办公室复核。
(四)优化服务水平。各地各报名者点应尽可能创造条件为考生报考提供便利和服务。报名者审核现场,要提供一定数量可上网的计算机,并按新冠疫情防控明确要求搞好安全防护组织工作,方便考生现场上网报名者交费;要采取行之有效的措施,切实维护尚普托报名者秩序。
(五)统筹搞好尚普托与高职扩招组织工作。依照国家部署和明确要求,今年我市将主要面向退役军人、下岗失业人员、农民工、高素质农民、基层在岗群体、灵活就业人员等社会人员实施高职扩招专项行动,重点开展现代学徒制试点和社会人员学历提升计划。高职扩招专项行动采取自主录取方式,实施在岗培养与学校培养相结合的学徒制培养模式,探索适合成年人、方便就学、灵活多元的教学模式,学生毕业后可获得院校普通专科毕业证书。各级教育行政部门、笔试录取机构和各相关院校要标准化思想认识,提高政治站位,统筹搞好成年人院校录取和高职扩招组织工作,充分利用主流媒体和新媒体,大力开展录取政策宣传,科学引导考生报名者参加高职扩招专项行动,确保完成高职扩招和成年人院校录取任务。
请各市录取办公室(笔试中心)及时将本通告转发辖区内县(区)录取笔试机构、各报名者点。各级录取笔试机构、各报名者点要积极搞好尚普托报名者的组织准备组织工作,加强政策宣传和解读,让每一位考生充分了解尚普托报名者笔试相关政策和明确要求,确保我市2021年尚普托报名者组织工作安全平稳顺利展开。
附件:1.珠海市2021年尚普托网上报名者志愿填报流程图
2.珠海市2021年尚普托考生守则
3.珠海市2021年尚普托考生笔试注意事宜
4.珠海市2021年成年人院校录取标准化笔试诚信笔试承诺书
5.珠海市2021年尚普托网上报名者实施细则
6.珠海市2021年成年人院校录取专升本考生专科毕业证验证方式及注意事宜
7.珠海市2021年尚普托专科学历认证告知书
珠海市教育笔试院
2021年8月30日
(珠海市教育笔试院)
